LEADERSHIP

Sunamp names new CEO

New Sunamp CEO Grant RichardsonGrant Richardson, pictured at right, has been appointed CEO of Sunamp (Edinburgh, Scotland), assuming the role from Andrew Bissell who with Susan Lang-Bissell founded the thermal storage technology company in 2005. Lang-Bissell is also stepping down as COO and from the board to “pursue new non-executive opportunities.”

Sunamp’s announcement said its former chief strategy officer was chosen for his “successful track record of driving growth for tech businesses in the energy sector, in senior leadership roles with Aggreko (Dumbarton, Scotland), and subsequently leading high-growth potential businesses and helping them scale rapidly in renewables and energy transition as well as SaaS, tech, software and industrial services.”

Bissell said of the leadership transition: “I’m incredibly proud of what we’ve built at Sunamp over the past 15 years. From day one, our mission has been clear, which is to tackle climate change by transforming how heat is generated, stored, and used. We’ve done this through innovation, which has resulted in the development of Thermino ultra-compact thermal batteries using our Plentigrade proprietary phase-change materials that are today installed in tens of thousands of homes, improving comfort, cutting energy use and carbon emissions. I remain deeply committed to the company’s success and will continue to support Grant and the executive team as a member of the board.”

Lang-Bissell was also supportive of the leadership transition, saying “Thanks to the hard work and belief of our team, customers, and investors, we’ve grown from an idea into a category-defining company. These changes and this transition reflect our belief that the next phase of growth requires a different kind of day-to-day leadership to achieve our global growth ambitions.”

“I am delighted to be appointed as CEO of Sunamp at such a pivotal moment in the company’s journey,” Richardson said. “The achievements of this talented Sunamp team have already positioned us at the forefront of sustainable thermal energy storage. Now with demand accelerating for heating and cooling solutions in residential, commercial, and industrial sectors and our truly market-leading technology, we’re ready to scale. I look forward to leading the next chapter as we unlock Sunamp’s full potential globally.”

POLICY NEWS

Policy brief calls for scaling up TES

Future Cleantech Architects (FCA) has drafted a policy brief called “Scaling Thermal Energy Storage for Decarbonizing Heat.” The climate innovation think tank based in Remscheid, Germany, says thermal energy storage (TES) is “underutilized” and “is an overlooked yet critical enabler of Europe’s energy transition” from imported fossil fuels to locally sourced clean heat. The policy brief outlines five recommendations: Recognize TES as a grid asset; enable clean flexibility and create a business case for TES; accelerate TES innovation and scale-up; urgently decarbonize low-temperature heat, and include TES in EU strategies. FCA also provides a useful factsheet on TES and the heat sector.

TES vital to UK clean energy flexibility

The United Kingdom’s “Clean Flexibility Roadmap: Mapping the path to a clean, flexible, consumer-focused electricity system” aims to increase clean flexibility from 24GW today to up to 66GW in 2030. The plan — which includes rooftop solar, smart tariffs, batteries, and large-scale storage — calls out thermal energy storage as crucial in shifting demand, supporting low-carbon heating and helping to integrate renewables. The roadmap was a collaboration between the UK’s Department for Energy Security & Net Zero, Ofgem, and National Energy System Operator (NESO).

IN BRIEF

2025 Keeling Curve Prize Winner: KraftblockKraftblock (Sulzbach, Germany) won the Global Warming Mitigation Project’s (GWMP) 2025 Keeling Curve Prize for its high-temperature thermal energy storage that helps advance clean, affordable, scalable energy systems. The GWMP announced the 10 winners in five categories at the TED Countdown Summit in Nairobi, Kenya. Kraftblock is using the momentum and the $50,000 purse from the Keeling Curve Prize to become a “gigacorn,” which is defined as a company that mitigates or removes at least 2.2 trillion pounds of greenhouse gases annually. “This is our climate impact goal. We also want to make sure that energy can be independent as well as resilient against the instabilities of gas and oil markets,” said Martin Schichtel, CEO and co-founder of Kraftblock.

Sunamp's co-founder Andrew Bissell• The University of Edinburgh’s School of Chemistry awarded Sunamp co-founder Andrew Bissell with an honorary doctorate of science on July 9. Bissell has a long history with the Scottish university, first earning a computer science degree in 1989 and later forming a partnership with its School of Chemistry that was critical to the development of Sunamp’s flagship Plentigrade P58 PCM. The university said of Bissell: “Andrew is an inspirational leader who is passionate about entrepreneurship and how business can make a positive impact on climate change, fuel poverty, and the adoption of renewable energy. His journey from an undergraduate computer scientist to founder of one of the UK’s most innovative companies is truly inspirational and highlights how curiosity, collaboration, and determination can drive innovation.”

Rubitherm's Anne N. and Esther Kieseritzky accept the Green Buddy AwardRubitherm (Berlin, Germany) won the 2025 Green Buddy Award in the Renewable Energy category. Anne N. (pictured at left) and Esther Kieseritzky (right) said they were “thrilled and honored” to accept the award and $2,300 prize money in Berlin. The winning project was the PhaseTube, a thermal energy storage system that combines cutting-edge salt hydrate PCM technology with water-based systems in building technology. District Mayor Jörn Oltmann said, “The award is intended to promote new, innovative ideas, create role models, and thus trigger multiplier effects that extend beyond the award itself.”

Cowa Thermal Solutions AG (Root, Switzerland) announced that its COMPACT Cell for domestic hot water has been certified by the SVGW. Certification ensures consumers that the product meets the quality, safety and functionality requirements of the Swiss gas and water trade association. Cowa says SVGW certification is a milestone and that the company plans to apply for certifications all over the world.

• A pilot project in Portugal conducted by the Faculty of Science and Technology at the University of Coimbra (FCTUC) will incorporate PCM into walls, ceilings, and floors of homes to improve thermal regulation and reduce energy use. Nelson Soares, a mechanical engineering professor at FCTUC and researcher at the Association for the Development of Industrial Aerodynamics (ADAI), said of the project: “We anticipate potential energy savings of up to 25% in heating and cooling requirements for small dwellings, with automatic indoor temperature adjustments of up to 5–8 °C in summer and winter. We also plan to develop practical and clear guidelines for architects, builders, and policymakers interested in implementing PCM-based energy solutions.”

• A pilot project in Nigeria aims to improve cold-chain transportation and sustainability through use of PCM technology. The project, which was launched under the IFC TechEmerge Sustainable Cooling Innovation program and is being implemented in partnership with SPAR (a division of the Artee Group) and IMI, involves four trucks — two 14-foot refrigerated trucks and two 18-foot trucks that can hold refrigerated and frozen goods. ThermoTab active PCM systems provide up to 12 hours of stable temperature control, thereby reducing food spoilage, lowering costs, and supporting a more sustainable food supply chain.

JOBS

Cowa Thermal Solutions AG (Root, Switzerland) has an opening for a business developer. The chief responsibilities are to identify new markets and partners; build relationships with OEMs, utilities, and distributors; recognize and develop market opportunities, and shape expansion of Cowa’s heat storage solution.

PATENTS


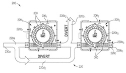
System and method for cryogenic thermal conditioning of cold chain phase change material panels

20250189202 patent drawingU.S. patent application 20250189202 (applicant Peli Biothermal, LLC, Maple Grove, Minnesota):

“A spiral conveyor cryogenic freezer for thermal conditioning of cold chain phase change material panels and associated method of expedited ready-for-use thermal conditioning of thermally-spent cold chain phase change material panels. А two-stage inline system for thermal conditioning of cold chain phase change material panels that includes the spiral conveyor cryogenic freezer and a spiral conveyor thermal tempering unit and associated method of expedited ready-for-use thermal conditioning of thermally-spent cold chain phase change material panels. A redundant two-stage inline system for thermal conditioning of cold chain phase change material panels that includes a pair of units each capable of independently cryogenically freezing and thermal tempering of cold chain phase change material panels and associated method of expedited ready-for-use thermal conditioning of thermally-spent cold chain phase change material panels.”


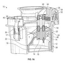
Phase change cooling system

20250203824 patent drawingU.S. patent application 20250203824 (applicant Digital Porpoise, LLC, Austin, Texas):

“Disclosed herein are embodiments of a cooling system for cooling a heat emitting object that can include a conduit having at least a portion thereof in thermal communication with a heat emitting object, a heat exchanger in communication with the conduit, a phase change material, a driving element adapted to advance the phase change material through the heat exchanger and the conduit, and a secondary cooling element to cool the phase change material as it passes through the heat exchanger. The cooling system can be adapted to remove heat from the heat emitting object as the phase change material advances through at least the portion of the conduit that is in thermal communication with the heat emitting object so that at least a portion of the phase change material changes from a solid or a semi-solid phase to a liquid phase from the heat removed from the heat emitting object.”


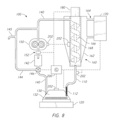
Method for hypothermic transport of biological samples

20250250546 patent drawingU.S. patent application 20250250546 (applicant Paragonix Technologies, Waltham, Massachusetts):

“A method for transporting a biological sample at hypothermic temperatures. The container can be cooled using phase change material and pump fluid through the sample. The fluid can pump through the system at a rate independent of the parameters of the biological sample. A valve can control
the rate of flow of the fluid into the biological sample.”

More U.S. patent applications:

Shipping package with phase-change material (TempAid Corp., Mississauga, Canada.) | Method for monitoring the thermal performance of a temperature-controlled transport container (REP IP AG, Zürich, Switzerland.) | Solvent-based method for making a phase change material (King Fahd University of Petroleum and Minerals, Dhahran, Saudi Arabia.) | Organic gel phase change material with double crosslinked network and preparation method (Shanghai Shengsheng Logistics Co., Shanghai, China.) | Aerogel composites including phase change materials (Aspen Aerogels, Inc., Northborough, Massachusetts.) | Superconducting phase-change material switch (Northrop Grumman Systems Corp., Falls Church, Virginia.) | Phase change mirrors (Teledyne Scientific & Imaging, LLC, Thousand Oaks, California.) | Rubber material for asphalt roads having both self-stress ice breaking and phase-change snow melting functions and preparation method thereof (Changsha University of Science and Technology, Changsha, China.)

RESEARCH ROUNDUP

From Chemical Engineering Journal:

Performance-differentiated phase change sandwich composite with gradient thermal conductivity for transient thermal shock protection and multi-source thermal management

From Energy Conversion and Management:

Bioinspired interlocking copper nanosheet scaffolds via gravity-directed assembly: Anisotropic shape-adaptive phase change composites for solar-thermal conversion and thermal management

From Applied Thermal Engineering:

Energy and economic evaluation of thermal regulation of PV panels using a hybrid phase change material-evaporative clay cooling system
Cascade thermal performance and analysis of dual-layered phase change material packed bed of molten salt thermocline storage system
Experimental investigation on incorporating wire mesh into phase change material-based battery packs at elevated ambient temperatures

From Materials Today Communications:

Thermochromic phase change beads based on phenolphthalein/ octadecylamine/ decanol for low-temperature indication and thermal buffering in cold chain logistics

From International Journal of Refrigeration:

Battery Thermal Management Systems with Dual PCMs for Seasonal Adaptivity and Liquid Cooling for Fast Charging/Discharging

From Composite Structures:

A novel composite of Closed-Cell aluminum foam and Phase-Change material for enhanced mechanical safety in EV battery systems

From Journal of Building Engineer:

Nature inspired vascular self-thermal responsive cementitious composites with phase change materials

From Solar Energy:

A potential building heating strategy integrating solar radiation absorption and thermal energy storage

From Journal of Energy Storage:

Enhancing sustainable energy storage through PCM-hemp concrete formulations: Environmental advancements in building materials
Diamine alkanes as a new kind of organic phase change materials with unusually high energy density
Expanded graphite enhanced cellulose aerogel/palmityl alcohol composite phase change material with effective thermal energy storage properties

From Journal of Materials Research and Technology:

A novel approach for constructing plantation wood-based phase change energy storage composites exhibiting high dimensional stability and mechanical performance

From Journal of Cleaner Production:

From urban waste to environmentally friendly coating-waste cooking oil derivative/polystyrene phase change coating for foamed concrete

From International Journal of Biological Macromolecules:

Natural cellulose-based kapok fiber composite aerogel phase change materials with flame retardancy, fire warning, thermal energy storage and thermoelectric conversion

From Carbohydrate Polymers:

Biochar-infused cellulose foams with PEG-based phase change materials for enhanced thermal energy storage and photothermal performance

From Nano Energy:

Development of phase change materials directly encapsulated within gold shell microcapsules for flexible intelligent textile with energy storage and photo-thermal conversion ability

From Construction and Building Materials:

Intrinsically flame-retardant phase change material via atherton-todd synthesis: Dual-functionality in thermal energy storage and fire safety enhancement

From International Communications in Heat and Mass Transfer:

Investigation and optimization of Shell-and-tube thermal energy storage unit with biomimetic leaf-vein fins and carbon nanotubes for superior PCM efficiency

From Results in Engineering:

Bio-based pomegranate peel/paraffin wax phase change composites for enhanced thermal energy storage

From Solar Energy Materials and Solar Cells:

Advanced phase change composite integrating photo/electro-thermal energy conversion and storage
Development and characterization of coconut oil-based phase change material integrated flexible polyurethane biocomposites for thermal energy storage applications

NETWORKING

Connect with PCM experts and industry leaders on LinkedIn

LinkedIn logoMore than 1,800 people have joined a LinkedIn group devoted to the discussion of phase change material and thermal energy storage. You are invited to join the Phase Change Matters group and connect with PCM and TES experts from around the world.

This month we welcome Dougald Coulson, co-founder of Gyre Energy, London, England; Abdelrahman Awawdeh, Ph.D. candidate at the University of Nebraska-Lincoln, Lincoln, Nebraska; Henry Cousineau IV, director at FTI Consulting, Denver, Colorado; Tom Gibson, co-founder and COO for Gyre Energy, London, England; Anushka Kumar, marketing specialist for BIS Research, Fremont, California; Daniel Uribe Cáceres, engineer at Aiguasol, Barcelona, Spain; Jef Van de Poel, product manager industrials for Oleon, Ertvelde, Belgium; Andreas Bittis, a visiting lecturer at the Universität Liechtenstein, Vaduz, Liechtenstein; and bala salihu, architect at the University of Jos, Jos, Nigeria.

NEWS TIPS

Does your company, agency or university have a job opening, new research, new product or other news you’d like to share? I would love to hear from you. Please contact newsletter editor Amy Phillips at phasechangematters@gmail.com.

A WORD FROM OUR SPONSOR

RAL Quality MarkThis newsletter is made possible through the generous support of the RAL Quality Association PCM and the members listed below. To learn more about the association, including membership benefits, please contact Stefan Thomann, executive director, at pcm@kellencompany.com.

Axiotherm GmbH | B Medical Systems | Croda International Plc. | ISU Chemical Co. Ltd. | RuhrTech | Microtek Laboratories | PCM Technology | PLUSS Advanced Technologies | PureTemp LLC | Rubitherm Technologies GmbH | Sasol Germany GmbH | S.Lab Asia Inc. | Sunamp Ltd. | va-Q-tec AG