SPACE EXPLORATION
Rubitherm’s innovation ensures integrity of sensor testing in space
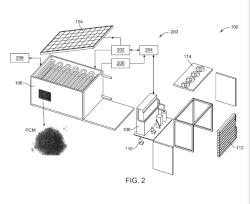
The power and adaptability of phase change materials (PCM) were recently put to the test in a simulation of the extreme conditions of space. The European Space Agency (ESA) needed heat absorbed from the “VenSpec-U” instrument, a UV spectrometer that will study the planet Venus in the Envision mission. Rubitherm’s SP-28 PCM was used in a capsule designed to cool a sensor within a space probe, simulating the intense cold of space by absorbing heat at approximately -28°C.
The electromagnetic radiation was measured for all components, except for active cooling systems, such as Peltier elements, which generate their own electromagnetic radiation. The PCM allowed for precise testing of the sensor’s functionality under conditions that mimic the challenges of deep space.
The VenSpec-U test required the Rubitherm capsule to absorb a power of 10W over eight hours at below -10°C. That requirement was made to simulate the -10°C of the point of contact with the sensor when the satellite is orbiting Venus.
There were two additional challenges that had to be overcome. First, the tiny contact area of only 9 cm², which is comparable to the surface of a central processing unit (CPU). Methanol heat pipes were used to efficiently dissipate 70Wh of heat from the contact surface over eight hours.
Second, the capsule was fitted with vacuum insulation to minimize the extreme temperature difference of around 50 K to the ambient air and to preserve the stored energy.
Rubitherm tested the capsule by first storing it at -34°C to charge the PCM. Then the temperature was measured on the contact surface. A heat source of 10W was applied at the contact surface and the length of time that the temperature remained below -10°C was measured. A time of 10 hours was achieved, exceeding the goal set by the ESA.
Felix Pawelz, a research and development engineer who developed the capsule used to test the spectrometer, said he was really excited about the project. “I love to tinker and test technological novelties. This project gave me a good opportunity to combine my working preferences while providing a highly specialized customer request,” he said.
RAL ASSOCIATION
Axiotherm awarded RAL Quality Mark for PCM used in solar project
The RAL Quality Association PCM recently awarded the RAL Quality Mark to Axiotherm´s ATS 83 PCM for cycling category D (≥ 500 cycles). The ATS 83 was a critical ingredient of the PV-2-Heat project, funded by the German Federal Ministry of Education and Research (BMBF) to develop sustainable heating systems for Mongolia.
Axiotherm and its subsidiary kraftBoxx partnered with with several German and Mongolian partners to develop the PV-2-Heat system, which converts solar energy into heat and adapts it to extremely low temperatures using latent heat storage systems that utilize PCM.
Pilot PV-2-Heat systems were installed in residential homes, industrial properties and kindergartens. In addition, the consortium worked on integrating electricity generated by the solar systems into the city’s power grid. Working at both macro and micro levels, the project provides a foundation for efficient expansion of the sustainable heating system.
One such photovoltaic heating system was installed in a kindergarten, in which the heating system converts the electricity from the 50 kWp photovoltaic system into heat using water-based heating rods that are temporarily stored in buffer tanks with PCM. This allows solar power to be used effectively in winter by conducting heat in insulated water pipes to the radiators in individual rooms.
Mongolia relies on coal for about 90% of its heating energy. About 3,300 premature deaths a year are attributed to the air pollution from burning coal, according to Axiotherm. Scaling up the technology introduced by the PV-2-Heat project would curb the country’s CO2 emissions and air pollution, benefiting both human and environmental health, the company said.
Project manager Sven Jona explained: “Thanks to power-to-heat technology, we have been able to lay the foundation for supplying the population with renewable electricity and CO2-free heat in the future.”
Plans are already in place to extend the project to other institutions.
IN BRIEF
• Sunamp and tepeo have teamed up to provide a low-carbon combination heating and hot water system that has a very small footprint, making it ideal for homes with little floor space.
The setup includes tepeo’s Zero Emissions Boiler (ZEB), which uses electricity to store heat from a home’s existing heating system at the cheapest and greenest times and uses a smart charging algorithm to forecast demand. Sunamp uses PCM technology in its Thermino thermal batteries that can replace hot water cylinders. Sunamp’s UK Sales Director Trevor Cross said, “We are thrilled to partner with tepeo to address a common challenge faced by many households: limited space for traditional low-carbon heating equipment. Our combined expertise introduces a truly revolutionary solution that meets the needs of modern homes for space heating and hot water from our rapidly decarbonizing grid, thus reducing primary energy consumption and carbon emissions.”
• Nyle Water Heating Systems collaborated with Htec Packaged Systems and Controls to develop Pyroclast, a heat pump water heater that uses a food-grade PCM to provide the equivalent of 375 gallons of storage without the need for bulky water tanks. The companies claim that the all-in-one solution dramatically reduces system footprints while minimizing waterborne pathogen risk, making it ideal for high-demand applications such as universities, multifamily housing and high-risk health-care facilities.
• va-Q-tec’s Envirotainer was awarded the “Most Diverse Range of Packaging” award at Cold Chain Unbroken 2024. The award was given in recognition of the company’s ability to transport pharmaceutical products at any temperature and stage of the product life cycle, thanks to va-Q-tec’s PCM that are incorporated into its packaging solutions.
• The COOLBat project is developing battery enclosures for electric vehicles (EVs) that are lighter, safer and have a smaller carbon footprint. A PCM inside the base plate protects against overheating and reduces the energy needed to cool the cells.
“We’re focusing on functionally integrated structures. Tasks that used to be handled by different modules inside the battery are being integrated into a single component—the base assembly, in this case—to shrink the installation space and streamline interfaces,” said Rico Schmerler, the project manager and a scientist with the Fraunhofer Institute for Machine Tools and Forming Technology (IWU). “These base plates will provide protection from overheating and avert damage to the battery core in case of an accident.” Project participants expect that COOLBat innovations could be modified and used for other large batteries like those found in trains, aircraft and boats.
• The Indian Institute of Technology (IIT) Indore has developed a novel phase-change composite (NPCC) that it says enhances battery safety, performance and lifespan, which could make electric vehicles (EVs) more reliable and efficient. The IIT says what sets its NPCC apart is the combination of improved thermal conductivity, shape stability, flame resistance and electrical insulation. IIT Indore Director Suhas Joshi said, “The technology has the potential to reshape the EV landscape. By managing heat more effectively, NPCC can extend the life of lithium-ion batteries, reduce the frequency of replacements and cut operational costs for manufacturers and consumers alike.” Joshi added that the NPCC has other uses: “With applications in renewable energy storage systems and other industries where thermal management is critical, the NPCC’s versatility opens new avenues for improved energy efficiency and safety in a wide range of sectors.”
• An initiative designed to develop zero-emission buildings with the help of a heat pump with energy storage provided by PCM was launched at the Chillventa trade show in Nuremberg, Germany, in October. Innova leads the Integrated Thermal energy Storages for Zero Emission Buildings project (LIFE iTS4ZEB). The plan is for 50 independent demonstrators to install the multi-source heat pump that utilizes PCM and control algorithms across 10 European countries to validate the technology. The European Commission under the LIFE Programme is funding the nearly $3.5 million project. “The project aims to deliver to the market a product that integrates heat pump and PCM technology, enabling ready-to-use energy storage even in already existing installations,” project partner Panasonic explained. “It features capabilities that easily detect self-consumption of PV energy, maximizing the amount of energy that can be produced and consumed on-site. Additionally, it allows for demand response for smart grids without compromising comfort and ensures appropriate purchasing and maintenance costs.” Other partners include Eurac, Studio Fieschi & Partners, PCM manufacturer Thermalink and the University of Padua.
•
TempAid Cold Chain Packaging has released the SpeedyPac Chilled Mailer, a single-use mailer envelope embedded with PCM to maintain temperatures of 2–8°C for 24 to 72 hours. Pharmacists, labs and clinical trials can insert medication, single-dose injectables (such as GLP-1s), and other temperature-stable pharmaceuticals into the SpeedyPac Chilled Mailer for home delivery and patients have less packaging to dispose of, the company says.
• Phase Change Materials Products Ltd., Star Refrigeration, Tyseley Energy Park and PAK Engineering have been named as industry partners in the Renewable Energy Access for Future UK Net-Zero Cooling (Reef-UKC) project. The project is funded by the Engineering and Physical Sciences Research Council, which awarded a grant of about $528,000 to a team at Aston University in Birmingham to support development of “clean cooling.” “Reef-UKC offers a collaborative platform for academia and industry to come together and explore sustainable cooling solutions, particularly focusing on technologies that harness waste heat and other forms of renewables,” said project lead Dr. Ahmed Rezk. “It also aims to expand the project’s outreach to regions like India, China, Africa and the Middle East, where cooling is a critical requirement in many industries.” The research team is calling for more than $125,000 in seed funding to support up to 10 new research projects.
•
Sineng Electric, in partnership with CATL, has successfully connected a 200MW/400MWh energy storage power station to the grid in Ningxia Province. The north-central Chinese province has a challenging climate, with extreme temperature swings, drought and sandstorms. The facility is designed to ensure uninterrupted power supply by seamlessly switching between on-grid and off-grid modes, which is made possible by utilizing phase-change heat dissipation technology.
• PURE EV, maker of electric scooters and motorcycles, announced plans to add 250 new dealerships in India over the next 30 months. PURE EV credits much of its success to the use of nanoparticle-based PCM technology in its battery systems. Said Nishanth Dongari, founder and managing director of PURE EV, “Our adoption of nano PCM has not only enhanced the safety profile of our EVs: bringing it to zero incident rate, but also significantly improved battery performance, resulting in 20,000 customers across pan-India, crossing 40,000 kilometers each and still going.”
PATENTS
Solar photovoltaic powered phase change material thermal energy storage system
U.S. patent application 12092360 (King Fahd University of Petroleum and Minerals, Dhahran, Saudi Arabia):
“A solar photovoltaic powered phase change material thermal energy storage system includes a refrigerator unit having a phase change material (PCM) tank and a photovoltaic (PV) panel to provide electrical energy to the PCM tank to melt a PCM stored therein. The PCM tank includes a refrigeration coil immersed in the PCM and configured to circulate refrigerant to between the PCM tank and a condenser. Energy released and absorbed during solidification and melting of the PCM is used to support an air-conditioning (AC) unit and substitute power used by a compressor of the AC unit, to handle demand during peak hours, thereby reducing overall power requirement of a facility. The melting of the PCM is also controlled, so that the AC unit may operate with the aid of the PCM for longer duration during the day.”
A thermal energy storage system
U.S. patent application 20240369310 (EnergyIntel Services Ltd., Nicosia, Cyprus):
“A thermal energy storage system is provided that includes a container for containing a phase change material, a jacket connected to the exterior of the container. A compartment is formed between the jacket and the container, the jacket having an inlet for receiving a heat transfer fluid into the compartment and an outlet for discharging heat transfer fluid from the compartment. Thermal energy is transferred from the heat transfer fluid present in the compartment to the phase change material, and a flow guide provided in the compartment for guiding and distributing the heat transfer fluid that enters through the inlet. At least one side of the flow guide is welded to the jacket. The flow guide includes a concealing portion which extends from at least one side. The concealing portion extends across the inlet and is spaced apart from the inlet.”
More U.S. patent applications:
Compositions comprising phase change materials and methods of making the same (Phase Change Energy Solutions, Inc., Greensboro, North Carolina) | Heating and/or cooling unit with phase-change material (Sun-Ice Energy Pte. Ltd., Singapore, Singapore) | Data center and phase change coolant distribution unit thereof (Industrial Technology Research Institute, Hsinchu, Taiwan) | Busbar with phase change material (TE Connectivity Solutions GmbH, Schaffhausen, Switzerland) | Thermal energy storage device and system (Mitsubishi Electric Corp., Tokyo, Japan) | Multi-component phase change material flame retardant, method for preparing, and application thereof (China Academy of Safety Science and Technology, Beijing, China) | Portable regulated temperature container with phase change materials (Sheetak, Inc., Austin, Texas) | Polyurethane phase-change nanocapsule, phase-change polyurethane pouring sealant and preparation method therefor (Guangzhou Baiyun Technology Co., Ltd., Guangdong, China) | Infill material for artificial turf and artificial turf with passive temperature control (APT Asia Pacific Pty. Ltd., Dandenong, Victoria, Australia)
RESEARCH ROUNDUP
From Applied Energy:
From Journal of Energy Storage:
• Green form-stable biocomposite of biochar from tea industry waste and organic phase change material
• Novel ternary inorganic phase change gels for cold energy storage
From Renewable Energy:
From Solar Energy Materials and Solar Cells:
• Long-term experimental testing of phase change materials as cooling devices for photovoltaic modules
From International Journal of Heat and Mass Transfer:
From Fuel:
• Plant oil-based phase change materials for sustainable thermal energy storage: A review
From Energy:
From Journal of Molecular Liquids:
From Ceramics International:
rom Chemical Engineering Journal:
From Energy Conversion and Management: X:
From Applied Thermal Engineering:
From Journal of Colloid and Interface Science:
From Construction and Building Materials:
NETWORKING
Connect with PCM experts and industry leaders on LinkedIn
More than 1,800 people have joined a LinkedIn group devoted to the discussion of phase change material and thermal energy storage. You are invited to join the Phase Change Matters group and connect with PCM and TES experts from around the world.
This month we welcome Jon Bayley, product development manager at Temprecision International, Washington, England; Francesco Ambrosecchia, assistant product manager at Dryce Nippon Gases, Cernusco sul Naviglio, Italy; Radhi Majmudar, principal at Innovative Structural and Specialty Engineering, New York, New York; Nihal Sevgili, architect at TÜMAŞ, Ankara, Turkey; Hala Salhab, Ph.D. student in technologies for resilient living environments at Tishreen University, Latakia, Syria; Esra Yılmaz, who recently earned a master’s degree in architecture at Samsun University, Samsun, Turkey; and Jens Meiser, managing director at Carl Meiser GmbH, Albstadt, Germany.
NEWS TIPS
Does your company, agency or university have a job opening, new research, new product or other news you’d like to share? I would love to hear from you. Please contact newsletter editor Amy Phillips at phasechangematters@gmail.com.
A WORD FROM OUR SPONSOR
This newsletter is made possible through the generous support of the RAL Quality Association PCM and the members listed below. To learn more about the association, including membership benefits, please contact Stefan Thomann, executive director, at pcm@kellencompany.com.
Axiotherm GmbH | B Medical Systems | Croda International Plc. | ISU Chemical Co. Ltd. | RuhrTech | Microtek Laboratories | Passive Edge Tech | PCM Technology | PLUSS Advanced Technologies | PureTemp LLC | Rubitherm Technologies GmbH | Sasol Germany GmbH | S.Lab Asia Inc. | Sunamp Ltd. | va-Q-tec AG


